

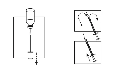
Colocá sobre una superficie limpia los siguientes materiales:


Cetrotide® se inyecta bajo la piel de la pared de la zona inferior del abdomen, preferentemente alrededor del ombligo. Para minimizar la irritación local, por favor seleccione un lugar de inyección diferente cada día.
Disuelva el polvo de Cetrotide® solamente con el agua contenida en la jeringa precargada.
No utilice una solución de Cetrotide® si contiene partículas o si no está transparente.
1. Lávese las manos. Es importante que sus manos y todos los elementos que utilice estén lo más limpios posible.
2. Coloque sobre una superficie limpia: todo lo necesario (un vial, una jeringa precargada, una aguja de inyección con una marca amarilla, una aguja de inyección con una marca gris y dos paños de alcohol).

3. Retire la tapa de plástico del vial. Limpie el aro de aluminio y el tapón de caucho con una torunda empapada en alcohol.

4. Tome la aguja de inyección con la marca amarilla y retire el envoltorio. Tome la jeringa precargada y retire la cubierta. Ponga la aguja en la jeringa y retire la cubierta de la aguja.
5. Haga penetrar la aguja por el centro del tapón de caucho del vial. Inyecte el agua en el vial empujando lentamente el émbolo de la jeringa.

6. Deje la jeringa en el vial. Suavemente agite el vial hasta que la solución quede límpida y sin residuos. Evite la formación de burbujas durante la disolución.
7. Haga pasar todo el contenido del vial a la jeringa. Si queda solución en el vial, invierta el vial y retire la aguja hasta que la apertura de la aguja quede justo dentro del tapón. Si mira de costado a través del espacio vacío en el tapón, puede controlar el movimiento de la aguja y del líquido. Es importante retirar el contenido íntegro del vial.
8. Separe la jeringa de la aguja y deposite la jeringa. Tome la aguja de inyección con la marca gris y retire su envoltorio. Ponga la aguja en la jeringa y retire la cubierta de la aguja.
9. Invierta la jeringa y empuje el émbolo hasta expeler todas las burbujas de aire. No toque la aguja ni permita que la aguja toque la superficie.

10. Elija un lugar donde inyectar en la pared de la zona inferior del abdomen, preferentemente alrededor del ombligo. Tome la segunda torunda empapada en alcohol y limpie la piel en el lugar de inyección. Sostenga la jeringa con una mano. Tome suavemente un pliegue de piel alrededor del lugar donde inyectar y sostenga firmemente con la otra mano.
11. Sostenga la jeringa como si fuera un lápiz e introduzca la aguja por completo en la piel con un ángulo de aproximadamente 45 grados.
12. Una vez que la aguja esté introducida por completo, suelte la piel.

13. Tire suavemente del émbolo de la jeringa. Si aparece sangre, continúe según lo indicado en el paso
14. Si no aparece sangre, inyecte la solución lentamente empujando el émbolo con suavidad. Una vez que haya inyectado toda la solución, retire la aguja lentamente, haciendo presión suavemente con la torunda empapada en alcohol sobre el lugar de la piel donde introdujo la aguja. Retire la aguja en el mismo ángulo en el que la introdujo. Si aparece sangre, retire la aguja con la jeringa y haga presión suavemente en el lugar de inyección. No utilice esta solución y vacíe la jeringa en un lavabo.
15. Use la jeringa y las agujas sólo una vez. Deshágase de la jeringa y de las agujas en cuanto las haya utilizado (ponga las cubiertas sobre las agujas para no lastimarse). Descartar los materiales corto-punzantes en botellas de plástico o contenedores rígidos para evitar accidentes.










Estas instrucciones no suplen a las instrucciones que le dieron con su lapicera de Gonal F y deben ser leídas en conjunto.
1. Trabaje sobre una superficie limpia y seca.
2. Lávese las manos cuidadosamente con agua y jabón antes de manipular la medicación.
3. Controle que la solución que contiene la lapicera de Gonal F sea transparente y que no contenga partículas. Controle la fecha de vencimiento de la medicación.
4. Quita la tapa de la lapicera y limpie el extremo que contiene el tapón de goma con un algodón embebido en alcohol.
5. Una la aguja a la lapicera ejerciendo una leve presión y girándola (la aguja se enrosca a la lapicera)
6. Gire el dosificador hasta la dosis que le fue indicada. Asegúrese de que la dosis correcta este alineada con la flecha negra.
7. Cargue la dosis tirando del botón de la inyección tanto como lo permita. Confirme la dosis correcta mirando la escala roja de confirmación de dosis. La última flecha roja, plana que es visible indica la dosis que fue cargada.
8. Limpie el sitio elegido para su inyección subcutánea con un algodón embebido en alcohol y deje secar
9. Quite cuidadosamente los cobertores externo e interno de la aguja.
10. Mientras sostiene la lapicera con su mano dominante, con su otra mano forme un pliegue con la piel del sitio que ha elegido para la aplicación y que previamente ha desinfectado (alrededor del ombligo).
11. Con un movimiento rápido, inserte la aguja en su totalidad en un ángulo de 45º a 90º y oprima el botón de inyección (parte superior de la lapicera) hasta el fondo. Sentirá sucesivos chasquidos. Luego del último chasquido suelte el botón de inyección y cuente hasta 5 antes de retirar la aguja fuera de la piel.
12. Retire la aguja rápidamente. Si nota sangrado aplique presión con un algodón o gasa estéril.
13. Luego de aplicar la medicación, coloque nuevamente el cobertor de aguja externo y gire la aguja para quitarla. Descarte cuidadosamente la aguja y evite pinchazos accidentales.
14. No reutilice las agujas en ningún caso. Nunca deje la aguja unida a la lapicera cuando no la esta usando.
15. Conserve la lapicera refrigerada hasta la próxima aplicación.
1. Trabaje sobre una superficie limpia y seca.
2. Lávese las manos cuidadosamente con agua y jabón antes de manipular la medicación.
3. Controle que la solución que contiene la jeringa sea transparente y que no contenga partículas. Controle la fecha de vencimiento de la medicación.
4. Limpie el sitio elegido para su inyección subcutánea (alrededor del ombligo) con un algodón embebido en alcohol y deje secar.
5. Mientras sostiene la jeringa con su mano dominante, con su otra mano forme un pliegue con la piel del sitio que ha elegido para la aplicación y que previamente ha desinfectado.
6. Con un movimiento rápido, inserte la aguja en su totalidad en un ángulo de 90º y empuje el botón de inyección (parte superior de la jeringa).
APLIQUE LA DOSIS QUE SU MÉDICO LE INDICÓ. Cuente hasta 5 antes de retirar la aguja fuera de la piel.
7. Retire la aguja rápidamente. Si nota sangrado aplique presión con un algodón o gasa estéril.
Menopur 75 UI consta de tres presentaciones: por 1 ampolla, por 5 ampollas o por 10 ampollas
Cada Ampolla de Menopur 75 unidades consta de dos partes:

Usted debe proveerse además por cada ampolla de 75 UI:
Abra la ampolla que contiene el solvente para reconstitución, tome le jeringa y coloque la aguja intramuscular (grande) en ella, aspire el líquido dentro de la ampolla.
Inserte la aguja la aguja intramuscular en el frasco ampolla con polvo liofilizado y con suavidad inyecte el líquido solvente (no agite el frasco para evitar que se formen burbujas), en unos segundos se formara una solución de líquido claro, aspire dicho liquido en la jeringa nuevamente.
Retire la jeringa del frasco ampolla y coloque la aguja subcutánea (pequeña) en la jeringa.
Golpee levemente la jeringa para que todas las burbujas se junten en la parte superior, presione levemente sobre el embolo hasta que la primera gota de líquido salga por la punta de la aguja.
Desinfecte el sitio a inyectar con un algodón o gasa embebido en alcohol, su médico le indicará el lugar de aplicación (usualmente se aplican en el abdomen).
Para inyectar tome la piel de manera que se forme un pliegue e introduzca a la aguja en ángulo de 90° respecto al cuerpo, presione el embolo hasta el fondo para inyectar toda la solución, luego retire la aguja y descártela en un recipiente rígido.
Consulte el prospecto de MENOPUR 75 UI para los detalles y siga siempre las instrucciones de su médico.
Si UD. Tiene indicado una dosis mayor de Menopur , puede juntar hasta 2 ampollas en 1 jeringa de la siguiente manera:
Abra la ampolla que contiene el solvente para reconstitución, tome le jeringa y coloque la aguja intramuscular (grande) en ella, aspire el líquido dentro de la ampolla.
Inserte la aguja la aguja intramuscular en el frasco ampolla con polvo liofilizado de Menopur y con suavidad inyecte el líquido solvente (no agite el frasco para evitar que se formen burbujas), en unos segundos se formara una solución de líquido claro, aspire dicho líquido en la jeringa nuevamente .
Retire la jeringa del frasco ampolla e insertela en el segundo frasco ampolla con polvo liofilizado de Menopur y con suavidad inyecte todo el contenido (nuevamente no agite el frasco para evitar que se formen burbujas), en unos segundos se formara una solución de líquido claro, aspire dicho líquido en la jeringa nuevamente. (Note que NO se usa una ampolla para solvente).
Retire la jeringa del frasco ampolla y coloque la aguja subcutánea (pequeña) en la jeringa de la misma manera que se explico para aplicarse 1 sola ampolla
El empaque original de Menopur 1200 UI contiene:

Retire la tapa de protección del frasco ampolla que contiene el polvo liofilizado.
Tome una jeringa prellenada con solvente para su reconstitución, retire la tapa de goma de la jeringa y coloque la aguja para reconstitución, retire la tapa de protección de la aguja.
Introduzca la aguja en el tapón de goma del frasco ampolla con polvo liofilizado, luego inyecte lentamente todo el líquido en el frasco ampolla.
Luego de unos segundos retira la jeringa lentamente de la aguja con un giro, deje la aguja inserta en el frasco.
Tome la segunda jeringa prellenada con solvente para su reconstitución, retire la tapa de goma y coloque la jeringa en la aguja inserta en el tapón de goma del frasco ampolla, inyecte lentamente el líquido dentro del frasco ampolla.
Retire la jeringa y la aguja del tapón de goma del frasco ampolla, se disolverá la solución hasta obtenerse un líquido claro (no agite el frasco ya que esto hará que se produzcan burbujas de aire). El frasco ampolla contendrá 1200 UI de menopur.
Tome la jeringa graduada en unidades de FSH/LH e introduzca la aguja dentro del tapón de goma del frasco ampolla, invierta el frasco ampolla y extraiga la dosis indicada por su médico en la jeringa de dosificación, golpee levemente la jeringa para que todas las burbujas se junten en la parte superior, presione levemente sobre el embolo hasta que la primera gota de líquido salga por la punta de la aguja.
Desinfecte el sitio a inyectar con las toallitas embebidas en alcohol provistas en el empaque original, su médico le indicará el lugar de aplicación (usualmente se aplican en el abdomen). Para inyectar tome la piel de manera que se forme un pliegue e introduzca a la guja en ángulo de 90° respecto al cuerpo, presione el embolo hasta el fondo para inyectar toda la solución, luego retire la aguja y descártela en un recipiente rígido.
Cada jeringa con aguja graduada en unidades para la administración es descartable, para la aplicación en días subsiguientes utilice nuevas agujas provistas en el empaque del medicamento.
El remanente de la solución reconstituida puede conservarse por un máximo de 28 días a menos de 25° C, NO CONGELAR.
Consulte el prospecto de MENOPUR 1200 UI para los detalles y siga siempre las instrucciones de su médico.
El envase contiene: 1 jeringa prellenada.


Conservar hasta 30ºC. Guardar en el envase original para protegerlo de la luz. NO congelar.
Consulte el prospecto de Orgalutran 0,25mg® para los detalles y ante cualquier duda consulte con su médico.
La aplicación de Ovidrel es simple. Siga estas instrucciones.
1. Lávese las manos.
2. El Ovidrel viene en una jeringa prellenada que lo único que necesita es colocar a rosca la aguja que viene junto con la jeringa prelleneda. (La aguja viene cerrada con una pestaña de papel que debe retirar previamente para poder enroscar la aguja al extremo de la jeringa. Figura A)

3. Gire suavemente el botón de ajuste de dosis en el sentido de las agujas del reloj hasta que en el visor de dosis aparezca el número 250.
No empuje el botón mientras lo gira.

4. Elija el lugar para la administración de la inyección (en el abdomen alrededor del ombligo).
Limpie la piel con un algodón con alcohol.
Retire cuidadosamente los 2 capuchones de la aguja (tiene uno externo y luego otro interno).

Inserte totalmente la aguja en la piel a 90°. Luego apriete el botón completamente hasta el fondo y mantenga el botón apretado durante 10 segundos.
Luego manteniendo el botón apretado retire la aguja de la piel.

5. Después de la inyección comprobar que el indicador de la dosis marque 0. Y vuelva a poner el capuchón externo a la aguja para poder desecharla.

Estas instrucciones no suplen a las instrucciones que le dieron con su Lápiz de Puregon y deben ser leídas en conjunto.
1. Trabaje sobre una superficie limpia y seca.
2. Lávese las manos cuidadosamente con agua y jabón antes de manipular la medicación.
3. Controle que la solución que contiene el cartucho de Puregon sea transparente y que no contenga partículas. Controle la fecha de vencimiento de la medicación.
4. Quite la tapa del lápiz y desenrosque el cuerpo del mismo. De esta forma separará el cuerpo del lápiz del compartimento del cartucho.
5. Limpie el tapón de goma del cartucho con un algodón embebido en alcohol e insértelo dentro del compartimento del cartucho con el extremo del tapón de goma primero.
6. Enrosque nuevamente el cuerpo del lápiz y el compartimento del cartucho de modo tal que la flecha y el cuadrado (uno en cada parte del lápiz) queden alineados).
7. Limpie el extremo del compartimento del cartucho con un algodón embebido en alcohol y únale la aguja ejerciendo una leve presión y girándola (la aguja se enrosca al lápiz).
8. Quite cuidadosamente el cobertor externo de la aguja. No lo descarte.
9. Gire el dosificador hasta la dosis que le fue indicada. El numero que marca esa dosis aparecerá en la ventana transparente que tiene el lápiz en su extremo.
10. Limpie el sitio elegido para su inyección subcutánea con un algodón embebido en alcohol y deje secar.
11. Quite cuidadosamente el cobertor interno de la aguja
12. Mientras sostiene la jeringa con su mano dominante, con su otra mano forme un pliegue con la piel del sitio que ha elegido para la aplicación y que previamente ha desinfectado.
13. Con un movimiento rápido, inserte la aguja en su totalidad en un ángulo de 45º a 90º y empuje el botón de inyección (parte superior del lápiz) hasta el fondo. La ventana de dosificación debe mostrar el número cero (“0”). Cuente hasta 5 antes de retirar la aguja fuera de la piel.
14. Retire la aguja rápidamente. Si nota sangrado aplique presión con un algodón o gasa estéril.
15. Luego de aplicar la medicación, coloque nuevamente el cobertor de aguja externo y gire la aguja para quitarla. Descarte cuidadosamente la aguja y evite pinchazos accidentales.
16. No reutilice ni jeringas ni agujas en ningún caso. Nunca deje la aguja unida al lápiz cuando no la esta usando.
17. Puede dejar el cartucho adentro del lápiz hasta la próxima aplicación. En todos los casos, el cartucho (dentro o fuera del lápiz) debe ser conservado en medios refrigerados hasta la próxima aplicación.
Ingresá tus datos para conocer tu índice de masa corporal.
Licenciada en Nutrición (M.N. 12221) con experiencia en nutrición clínica y servicios de alimentación, especializada en evaluación del estado nutricional, planificación de dietoterapia y adaptación de planes terapéuticos. Cuento con formación de posgrado en nutrición y fertilidad (SAMER) y diplomaturas en patologías endocrino-metabólicas y digestivo-absortivas, con enfoque en salud reproductiva, educación alimentaria y abordaje integral basado en evidencia científica.
• Licenciada en Publicidad por la Universidad de Palermo (2014).
• Certifico en Coaching Ontológico(2016)
• Concejala electa en el partido de Tigre, Provincia de Bs. As para el Honorable Concejo Deliberante. (2017-2021)
• Certificación en Health Coaching en IIN, la escuela online más grande de nutrición (NY, 2020)
• Certificación en Coaching Deportivo(2021)
• Certificación de Alba Emoting, gestión de emociones. (2019)
• Certificación en Mindfulnes (2019)
• Certificación con el gran maestro Joe Dispenza “Co creando nuestro mundo”(2021)
Realizo cursos en : Biodecodifiación, astrología, medicina china, meditación, alimentación consciente, sexualidad consciente,plantas medicinales, etc
• Licenciada y Profesora de Psicología (UBA).
• Diplomatura en Psicología en Reproducción Humana Asistida por SAMER (Soc. Argentina de Medicina Reproductiva).
• Miembro de SAPHRA (Soc. Argentina de Psicólogos en Reproducción Humana Asistida).
• A su capacitación en temáticas específicas de fertilidad le suma su experiencia personal con tratamientos de reproducción asistida.
• Acompaña y asesora a mujeres y parejas en tratamientos de baja y alta complejidad (FIV – Donación de gametos – Preservación de fertilidad – Gestación Subrogada).
• Bioquímica, graduada en la Facultad de Farmacia y Bioquímica de la Universidad de Buenos Aires (UBA, 2020). Realizó la práctica profesional en el laboratorio de andrología del Hospital de Clínicas José de San Martín.
• Durante el año 2020 se desempeñó como bioquímica en el área de diagnóstico de infertilidad masculina del laboratorio Manlab. En el año 2021 inició su formación en embriología clínica al ingresar como Fellow en el laboratorio de reproducción asistida de la clínica PROCREARTE.
• Realizó el curso de especialización en Embriología Clínica de la Sociedad Argentina de Medicina Reproductiva (SAMER).
• Se incorporó al staff del laboratorio de Pregna en Noviembre de 2023.
• Médica graduada en la Universidad Nacional de Tucumán.
• Especialista en Endocrinología.
• Residencia Universitaria en Endocrinología en Hospital de Clínicas José de San Martín-Universidad de Buenos Aires (2008-2011).
• Jefa de Residentes (2011-2012).
• Ayudante de primera medicina interna-Departamento de Medicina-Facultad de Medicina-UBA. (2017-actualidad).
• Jefe de Trabajos Prácticos-Carrera de Endocrinología-UBA (2019-actualidad).
• Diplomada en Obesidad. Universidad de Favaloro (2023)
Médica graduada con diploma de honor del Instituto Universitario CEMIC (2017).
Realizó la residencia médica en Tocoginecología en el Hospital Italiano de Buenos Aires (2019-2023).
Actualmente realizando el fellowship en Medicina Reproductiva en la institución.
Licenciado en Ciencias Biológicas graduado en la Facultad de Ciencias Exactas y Naturales de la Universidad de Buenos Aires (2016).
Doctor de la Universidad de Buenos Aires, área Química Biológica (2022).
Fellow en embriología en la Società Italiana Studi di Medicina della Riproduzione (Bologna, Italia) entre 2022 y 2023.
Estudios secundarios: Bachiller especializado en Ciencias Biológicas
Cursado en el Colegio Champagnat
Idioma Inglés: Redbrick Institute
Oakland Institute
Preliminar English Test
First Exam
I.G.C.S.E.
a) TITULOS UNIVERSITARIOS
Médico
Diploma otorgado en la Facultad de Medicina de la Universidad de Buenos Aires.
Finalización de los estudios: 9 de diciembre de 2004
Especialista en Tocoginecología
Diploma otorgado en la Facultad de Medicina de la Universidad de Buenos Aires en el Hospital de Clínicas “José de San Martín” desde el 1º de junio de 2005 hasta el 31 de mayo de 2009
Jefe de Residentes de Tocoginecología
Diploma otorgado en la Facultad de Medicina de la Universidad de Buenos Aires en el Hospital de Clínicas “José de San Martín” desde el 1º de junio de 2009 hasta el 31 de mayo de 2010
Médico de Planta Honorario
Otorgado por la 1ra Cátedra de Ginecología del Hospital de Clínicas José de San Martín.
b) GUARDIAS y ACTIVIDAD LABORAL
Sanatorio I.M.O. (Instituto Médico de Obstetricia) 2007-2011
Guardia de Ginecología en O.S.E.C.A.C. (Obra Social de Empleados de Comercio)
Médico interno de Obstetricia, Hospital de Clínicas “José de San Martín” Junio 2010 – Julio 2014
Guardia de Obstetricia. Sanatorio Anchorena
Medico de Staff de la sección Esterilidad Matrimonial de la Division Ginecologia del Hospital de Clinicas Jose de San Martin. Junio 2010 a Marzo 2014
Jefe de Guardia de la Catedra de Obstetricia del Hospital de Clínicas Jose de San Martin.
Subjefe de guardia. Servicio de Obstetricia, Hospital José de San Martin. 01/10/2014.
Jefe de Urgencias Tocoginecologicas. Hospital Jose de San Martin; desde 2015 hasta la fecha
c) CURSOS y CONGRESOS
XXII Jornada de Obstetricia y Ginecología. SOGIBA 2004. 17, 18 y 19 de Mayo.
Enfoque Multidisciplinario del Paciente con Enfermedad Vascular. FLENI. Buenos Aires, 25 de junio del 2004.
10° Congreso Internacional de Medicina Interna del Hospital de Clínicas. 24, 25, 26 y 27 de agosto del 2004. Sheraton Buenos Aires Hotel.
VIII Congreso Argentino de Perinatología. Jornadas de Actualización para Obstétricas. Seminario de Enfermería Perinatal. 14 al 16 de Octubre de 2004. Buenos Aires, Argentina.
75° Congreso Argentino de Cirugía. 48° Congreso Argentino de Cirugía Torácica. 29° Congreso Argentino de Colonoscopía. 31° Jornadas Argentinas de Angiología y Cirugía Cardiovascular. 5° Jornadas Nacionales de Médicos Residentes de Cirugía General. Buenos Aires 3 de noviembre de 2004
IX Curso de Cirugía Endoscópica Ginecológica. Shering, Buenos Aires. De mayo a diciembre de 2004.
Curso Práctico de Cirugía Laparoscópica. Hospital de Clínicas “José de San Martín”, Cirugía Experimental. De junio a diciembre del 2004. (20 horas docentes)
XXIV Jornadas de Obstetricia y Ginecología SOGIBA 2006. 5, 6 y 7 de Mayo, Buenos Aires, Argentina.
Curso Teórico Práctico “Hands on” en cirugía laparoscópica ginecológica. Dictado en SOGBA del 6 de junio al 4 de julio de 2007. Módulo práctico: Cirugía laparoscópica en animales. (52 horas docentes)
Primera Jornada SAEGRE en endocrinología ginecológica y reproductiva de residentes y fellows. 9 de Noviembre de 2007.
Disertante en la Primera Jornada SAEGRE en endocrinología ginecológica y reproductiva de residentes y fellows. Tema: Estados Hiperprolactinémicos. 9 de Noviembre de 2007.
Curso de “Colposcopia Avanzado” dictado en la Primera Cátedra de Ginecología del Hospital de Clínicas José de San Martin, desde el 5 de junio al 17 de julio de 2007.
Curso de “Nuevos Enfoques y Terapéuticas en Patología Vulvaginal” dictado en la Primera Cátedra de Ginecología del Hospital de Clínicas José de San Martin, durante los meses de Agosto a Septiembre de 2007.
Curso de postgrado titulado “Jornadas de atención primaria ginecológica en las distintas etapas de la mujer” dictado en la Cátedra de Ginecología del Hospital de Clínicas José de San Martín, desde el 21 de abril hasta el 28 de abril de 2008.
XXVI Congreso Internacional de Obstetricia y Ginecología. SOGIBA 2008. Asistente. 13, 14 y 15 de Julio. Buenos Aires, Argentina.
Workshop “PATOLOGÍA DEL TRACTO GENITAL INFERIOR: A 25 AÑOS DE UN NUEVO CONCEPTO EN ATENCIÓN TOCOGINECOLÓGICA”, Hospital de Clínicas “José de San Martín”, 1° Cátedra de Obstetricia. Buenos Aires, 26 de Noviembre de 2008.
Curso Anual Universitario. Programa de ¨Actualización en Medicina Reproductiva¨. CEGYR – Centro de Estudios en Ginecología y Reproducción. Desde el 8 de abril del 2008 hasta el 8 de noviembre del 2008.
XXVII Congreso Internacional de Obstetricia y Ginecología. SOGIBA 2009. Asistente. 29, 30 y 31 de Agosto. Buenos Aires, Argentina.
Jornada “Avances en Reproducción Asistida”. CEGYR – Centro de Estudios en Ginecología y Reproducción. Buenos Aires, 18 de septiembre de 2009.
SOCIEDAD ARGENTINA DE ENDOMETRIOSIS – SIMPOSIO INTERNACIONAL ¨Una visión actualizada de la Endometriosis¨. Buenos Aires, 14 de Mayo de 2010
WORK-SHOP “Sutura laparoscópica”. Instructor. Hospital de Clínicas “José de San Martín”. División Ginecología. C.A.B.A. 20 al 22 de mayo. 2010
XXVIII CONGRESO INTERNACIONAL DE OBSTETRICIA Y GINECOLOGÍA. SOGIBA 2010. Asistente. 3, 4 y 5 de junio. Buenos Aires, Argentina.
Curso de Postgrado “Actualización en Cirugía Endoscópica Ginecológica”. Disertante sobre el tema “Histeroscopía”. 9 de Septiembre de 2010. Hospital de Clínicas “José de San Martín”. Buenos Aires, Argentina.
SOCIEDAD ARGENTINA DE ENDOMETRIOSIS. SIMPOSIO INTERNACIONAL. “Nuevos aspectos en el diagnóstico y tratamiento de la endometriosis” “Desde la investigación hasta la clínica”. Buenos Aires, 24 de Junio de 2011.
AMERICAN SOCIETY for REPRODUCTIVE MEDICINE. The 67th Annual Meeting. October 15-19, 2011. Orange County Convention Center, Orlando, FL. Attendance.
“CURSO SUPERIOR BIANUAL DE MEDICINA REPRODUCTIVA 2012 – 2013
“XVII CURSO ANUAL DE CIRUGÍA ENDOSCÓPICA GINECOLÓGICA” SAMeR. Directores: Dres. Claudio Ruhlmann, Diego Gnocchi y Sebastián Gogorza Coordinadores: Dres. Lautaro Tessari y Victorio Viglierchio Secretarios: Dres. Fernando Pinto y Mariano Etchepareborda. 12/6/12 al 27/11/12
“XVIII CURSO ANUAL DE CIRUGÍA ENDOSCÓPICA GINECOLÓGICA” SAMeR. Directores: Dres. Claudio Ruhlmann, Diego Gnocchi y Sebastián Gogorza Coordinadores: Dres. Mariano Etchepareborda y Dra. Felicitas Ruhlmann. Junio del 2013 a Diciembre del 2013
“XXXIX Congreso Internacional de Obstetricia y Ginecología SOGIBA 2022, 13° Encuentro Nacional del Ejercicio Profesional y 8° Jornada de Enfermería Tocoginecologica,”
Panelista en Mesas de Discusión Presencial ”HONORARIOS PROFESIONALES Y NOMENCLADOR DE SOGIBA”
Tutor en Mesa Redonda con Residentes de Ginecología Presencial “CIRUGIA GINECOLOGICA Y REPRODUCCION”
ACTIVIDAD CIENTIFICA
• SOCIEDAD ARGENTINA DE MEDICINA REPRODUCTIVA
Socio
• SOCIEDAD de OBSTETRICIA Y GINECOLOGIA de BUENOS AIRES
Miembro PLENARIO
• SOCIEDAD ARGENTINA DE ENDOMETRIOSIS
CERTIFICACION de CLASIFICACION AGREGADA en ENDOMETRIOSIS 2020
INTEGRANTE DEL MAFE (Mapa Federal de la Endometriosis)
VOCAL TITULAR DE LA COMISION DIRECTIVA 2021-2022
IV jornada de endometriosis celebrada en el Hospital Naval “Pedro Mallo” en Mayo 2022. Disertante
d) PUBLICACIONES
XXVI CONGRESO ARGENTINO DE GINECOLOGÍA Y OBSTERTICIA.28 al 31 de octubre de 2009 – Rosario – Argentina. Trabajo Científico “EMBARAZO EN LAS PACIENTES TRANSPLANTADAS RENALES”.
XXVI CONGRESO ARGENTINO DE GINECOLOGÍA Y OBSTERTICIA.28 al 31 de octubre de 2009 – Rosario – Argentina. Trabajo Científico “EVOLUCIÓN DE LOS ABORTOS CONSUMADOS QUE SON VERDADERAS MOLAS HIDATIFORMES PARCIALES (MHP)”
Rotación por MD Anderson Cancer Center (Houston, Texas. USA) en Cirugía mínimamente invasiva en Ginecología Oncológica desde 23 de febrero al 15 de mayo de 2009.
Robotic Technology Award – Best Paper On Robotic or Simulators. Third Place. “Robotic Radical Trachelectomy in Patients with Early-Stage Cervical Cancer” Pedro T. Ramirez, M.D. Mariano Etchepareborda, M.D. Pamela T. Soliman, M.D., MPH. University of Texas, M.D. Anderson Cancer Center. Houston, Texas. USA. Presented at the Global Congress of Minimally Invasive Gynecology. AAGL 38th Annual Meeting. November 15-19, 2009 – Orlando, Florida. USA
PRIMARY MALIGNANT MELANOMA OF THE VAGINA – Michael Frumovitz, Mariano Etchepareborda, Charlotte C. Sun, Pamela T. Soliman, Patricia J. Eifel, Charles F. Levenback and Pedro T. Ramirez – OBSTETRICS & GYNECOLOGY 116(6):1358-65 (2010)
XXVIII CONGRESO INTERNACIONAL DE OBSTETRICIA Y GINECOLOGÍA. SOGIBA 2010. Presentador del tema: ¨2do caso: Asociación letal VIH-SIDA y Hepatitis C¨ en el Escenario Clínico Desordenes hepáticos que alteran el binomio madre-hijo. 3, 4 y 5 de junio. Buenos Aires, Argentina
XXVIII CONGRESO INTERNACIONAL DE OBSTETRICIA Y GINECOLOGÍA. SOGIBA 2010. Autores del Trabajo: “Embarazo ectópico intersticial (cornual)”. Piroso, Paula; Etchepareborda, Mariano; Favero, Gabriela; Ruda Vega, Hilda. 3, 4 y 5 de junio. Buenos Aires, Argentina.
Premio Científico Laboratorio ASTREZENECA al mejor trabajo de Ginecología titulado: “Relación Calidad Ovocitaria – Índice de Masa Corporal en Tratamientos de Fertilidad de Alta Complejidad”. 3 de diciembre de 2011.